电脑端表单改版说明
功能说明
本次对电脑端表单进行改版,调整了页面打开方式,优化了表单控件实现方式,完善了公式联动的底层逻辑。
下面文章中详细讲述了本次更新的地方。
页面打开方式
页面打开由之前的中间弹窗打开,调整为右侧弹窗打开,页面整体大小较之前中间弹窗模式会大一些,展示内容更完整。
此外,页面右侧弹窗打开,可以更好的支持关联查询字段的数据穿透能力,效果可以参考下文中关联查询字段的优化内容。
新老版本对比如下所示:
| 新版本 | 老版本 |
|---|---|
![]() |
![]() |
页面打开方式调整涉及到的页面如下:
- 权限组/数据管理 新建数据页面
- 权限组/数据管理 查看单条数据页面,及编辑数据页面
- 报表 新建数据页面
- 报表 查看单条数据页面,及编辑数据页面
- 流程中心 审批/查看任务页面
- 表单按钮弹出表单页面
- 报表菜单弹出表单页面
- 及系统中其他打开数据页面
表单控件优化
日期控件
-
选择时间控件优化。
新版本 老版本 

-
完善控件触发扩展方式,修改为时间控件面板收起后触发一次公式或扩展,之前版本变动一下年/月/日 时分秒就会触发公式或扩展。
示例:单行文本设置公式 单行文本=DATE(日期时间),新老版本触发效果对比如下:
新版本 老版本 

地址控件
-
选择地址控件优化。
新版本 老版本 

-
地址字段经纬度定位可关闭,新增属性:【开启经纬度定位】,勾选后可以经纬度定位,不勾选则不支持经纬度定位;默认不勾选。
设置入口:表单设计-地址字段-【开启经纬度定位】 
开启效果 未开启效果 

-
地址字段新增属性:【公式联动触发模式】,当地址字段内容改版触发控件扩展或相关公式联动时,按配置的模式进行触发。之前的版本是省市县/详细地址内容改版都触发。
包含以下三种模式:
- 省市县/详细地址内容改变都触发,默认选中。
- 只有省市县改变才触发。
- 只有详细地址改版才触发。
设置入口:表单设计-地址字段-公式联动触发模式 
示例:如单行文本设置公式:单行文本=地址,三种触发模式的效果如下:
| 省市县/详细地址内容改版都触发 | 只有省市县改变才触发 | 只有详细地址改版才触发 |
|---|---|---|
![]() |
![]() |
![]() |
关联数据
关联数据控件优化,选择数据时,表格展示数据,之前版本为下拉列表展示数据。
| 新版本 | 老版本 |
|---|---|
![]() |
![]() |
选择数据的面板中,支持模糊搜索及筛选条件搜索。
注意:输入框模糊搜索,支持搜索的字段和数据管理支持搜索的字段一致。
| 搜索效果 |
|---|
![]() |
关联查询
关联查询数据显示模式新增标题方式,即关联出的数据显示数据标题。
设置:在表单设计页面,关联查询字段属性增加 【数据显示模式 】,可选择默认或标题。
| 设置入口:表单设计—关联查询—数据显示模式 |
|---|
![]() |
| 默认模式 | 标题模式 |
|---|---|
![]() |
![]() |
注意:
- 关联查询字段设置标题模式,如果显示字段未选择标题,则访问时,关联结果也会显示标题。
- 关联查询关联的是数据视图或聚合表时,不能设置标题模式。
数据加载
-
数据加载及子表单数据加载 增加扩展设置,当数据加载选择数据赋值后触发扩展。
设置入口:表单设计—数据加载—数据加载扩展设置 
-
筛选条件支持任一/所有筛选。
设置入口:表单设计—数据加载—筛选条件设置 效果 

-
原来的触发指定公式从数据加载配置页面移除,放到扩展配置页面,功能不受影响。
现位置 原位置 

流水号
流水号支持在公式中引用,在编辑数据时生效(即流水号真实存在后可以使用)。
| 设置入口:表单字段-公式编辑,支持引用流水号字段 |
|---|
![]() |
下拉框/下拉复选框
下拉框/下拉复选框配置数据联动时,新增联动到选项/联动到值配置。
-
设置联动到值时直接展示结果(联动结果的第一条数据);设置联动到选项时将结果写入下来选项中,需要手动选择才会写入输入框。
-
本版本更新前,下拉框/下拉框复选框数据联动的设置会默认联动到选项。
注意:之前版本下拉框/下拉复选框不可编辑状态下显示值的逻辑,现版本不支持,需要重新设置成联动到值。
| 设置入口:表单设计-下拉框/下来复选框-选项-数据联动设置 |
|---|
![]() |
效果如下:
| 联动到选项 | 联动到值 |
|---|---|
![]() |
![]() |
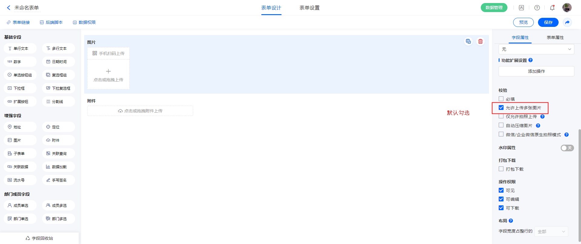
图片/附件控件
- 图片、附件字段多文件上传改为默认打开,表单新添加的图片/附件如需限制单文件上传需手动取消勾选。
已有图片/附件字段的设置不受影响。
| 设置入口:表单设计—图片/附件—校验—允许上传多张图片 |
|---|
![]() |
-
图片控件原生支持压缩,可设置压缩比例,压缩功能基于canvas。
在微信企业号/服务号和钉钉移动客户端中使用三方的压缩能力;
在浏览器访问时依赖浏览器的压缩能力,可自行设置,部分浏览器可能无效。
设置入口:表单设计—图片-校验—自动压缩图片,可设置压缩比例 
注意:图片压缩后,可节省流量,但是会有一定失真,用户可根据实际需求设置。
其他页面优化
流程日志页面样式优化
流程日志样式更新,当前处理中的节点为多节点时,不同流程节点分开展示。
| 新版本 | 老版本 |
|---|---|
![]() |
![]() |
流程审批支持显示动态
| 设置入口:流程设计—流程属性增加【允许查看数据动态】,默认不勾选。 |
|---|
![]() |
| 勾选此属性后,在流程中心(流程待办/抄送我的/我处理的/我发起的)查看流程页面,会显示动态。 |
|---|
![]() |
表格直接编辑
-
表单表格直接编辑设置,在表单设计-表单设置-更多设置中,新增【表格直接编辑】开关;关闭后,数据管理表格不能直接编辑。
表单表格直接编辑设置入口 
-
表格直接编辑更新时间由5S改成2S。
表格直接编辑效果 
-
数据表表格直接编辑开关,老版本需要数据源表单开启表格直接编辑开关后才会显示,现改成不受数据源表单影响,单独控制。
数据表表格直接编辑设置入口 
注意:开启表格直接编辑开关后,表格中才会显示按钮控件。
表单预览页面限制
-
为了避免预览时触发扩展影响到实际数据,现版本中,表单预览不支持触发扩展。
效果 
-
表单预览页面 不支持按钮操作。
效果 
报表菜单/数据表菜单
-
数据表菜单弹出表单,字段赋值时,定位字段不支持自定义赋值。

-
报表菜单弹出表单,字段赋值时,不支持设置定位字段。

公式联动体系优化
公式联动的底层逻辑优化
优化公式联动的底层逻辑,兼容更多的公式联动复杂使用场景,及子表单相关的计算场景。
触发指定字段
规则介绍
表单控件配置功能扩展、子表单导入配置功能扩展、数据加载/子表单数据加载配置功能扩展,支持设置【触发指定字段】,可设置 不触发、触发指定字段、触发多个指定字段、触发所有被修改过的字段四种模式。用户可根据需求及实际计算结果,设置【触发指定字段】。
-
不触发:只执行扩展,不触发任何字段的公式联动。
-
触发指定字段:执行完扩展后,再执行指定字段自身公式联动及指定字段做条件影响到的公式链。
-
触发多个指定字段:执行完扩展后,再执行指定字段自身公式联动及指定字段做条件影响到的公式链。
-
触发所有被修改过的字段:执行完扩展后,再执行扩展修改过的字段自身公式联动及字段做条件影响到的公式链。
注意:
-
表单控件必须配置功能扩展,触发指定字段的设置才生效。
-
触发指定字段的执行逻辑,电脑端和移动端均生效。
-
设置入口
| 表单控件:表单设计页面—表单控件—功能扩展设置—触发指定字段 |
|---|
![]() |
| 数据加载/子表单数据加载:表单设计页面—数据加载/子表单数据加载—数据加载扩展设置—触发指定字段 |
|---|
![]() |
| 子表单导入:表单设计页面—子表单—导入—导入数据扩展设置—触发指定字段 |
|---|
![]() |
示例
表单设计如下:
单行文本A配置功能扩展-数据助手,修改下拉框字段的值;
单行文本1设置公式 单行文本1=下拉框;
单行文本2设置数据联动,下拉框为条件。
执行结果:
- 单行文本A,功能扩展设置触发指定字段为:不触发,只执行单行文本A的扩展修改下拉框字段的值,不会执行单行文本1和单行文本2字段的公式联动。
| 效果 |
|---|
![]() |
- 单行文本A,功能扩展设置触发指定字段为:触发指定字段-单行文本1,执行完单行文本A的扩展后,会执行字段单行文本1的公式。
| 效果 |
|---|
![]() |
- 单行文本A,功能扩展设置触发指定字段为:触发指定字段-下拉框,执行完单行文本A的扩展后,会执行字段下拉框做条件影响到的公式联动,单行文本1和单行文本2的公式联动都会执行。
| 效果 |
|---|
![]() |
- 单行文本A,功能扩展设置触发指定字段为:触发所有被修改过的字段,执行完单行文本A的扩展后,会执行被修改过的字段下拉框自身的公式及下拉框做条件字段影响到的公式联动,单行文本1和单行文本2的公式联动都会执行。
| 效果 |
|---|
![]() |
数据联动优化
当数据联动配置多条件时,之前的版本,条件之间如果有依赖关系,则联动结果会添加这个依赖关系做条件查询输出。现版本将取消条件之间的依赖关系,联动结果直接根据设置的条件输出。



























